
نحوه کار سختی گیر رزینی
نحوه کار سختی گیر رزینی : هر گونه آبی که در طبیعت یافت میشود دارای یک سری مشخصات فیزیکی و شیمیایی مختص خود است که بسته به نوع کاربری مد نظر میتواند مفید یا مضر واقع گردد یکی از این مشخصات سختی آب است .سختی آب در اصطلاح به مجموع املاح کلسیم و منیزیم موجود در آب گفته میشود. در ادامه مقاله نحوه کار سختی گیر رزینی را به طور کامل توضیح داده ایم.
به منظور تکمیل اطلاعات مشتریان عزیز، توضیحات جامع و تخصصی در ارتباط با نحوه کار سختی گیر رزینی با عناوین زیر به تفصیل بیان شده است.
- سختی موقت (سختی کربناتی)
- سختی دائم (سختی غیر کربناتی)
- سختی آب چگونه به وجود میاید
- سختی آب چه مزایا و معایبی را به همراه دارد؟
- تشکیل رسوب در تاسیسات چه پیامدهایی را به دنبال دارد؟
- سختی گیری آب
- کاربرد سختی گیر رزینی
- دستگاه سختی گیر رزینی چیست؟
- رزین چیست؟
- اجزا یک دستگاه سختی گیر
- محاسبه و انتخاب سختی گیر رزینی مناسب
همچنین کاربران عزیز می توانند جهت مشاهده انواع سختی گیر، و مقایسه قابلیت های هر مدل و کاربری هر یک از مدل های سختی گیر به لینک زیر مراجعه نمایند.
هر گونه آبی که در طبیعت یافت میشود دارای یک سری مشخصات فیزیکی و شیمیایی مختص خود است که بسته به نوع کاربری مد نظر میتواند مفید یا مضر واقع گردد یکی از این مشخصات سختی آب است .
سختی آب در اصطلاح به مجموع املاح کلسیم و منیزیم موجود در آب گفته میشود اما سختی آب فقط ناشی از این دو عنصر نیست بلکه سختی کل آب ناشی از املاحی نظیر یونهای کلسیم ، منیزیم ، باریم ، هیدرو کربنات ، کلر ، سولفات ، نیتراتها ، منگنز ، استرانسیوم ، آلومینیم و آهن و ... میباشد ، اما با توجه به غالب بودن مقدار املاح کلسیم و منیزیم معمولا سختی آب را با این دو عنصر میشناسند سختی آب به دو نوع سختی موقت و دائم تقسیم میشود .
سختی موقت (سختی کربناتی)
سختی موقت آب حاصل املاح بی کربنات کلسیم و منیزیم است که در اثر حرارت دادن از حالت محلول به حالت غیر محلول میاید ، و در این صورت به آن سختی موقت میگویند . این املاح معمولا به صورت رسوب نشان داده میشوند .
سختی دائم (سختی غیر کربناتی)
سختی دائم شامل املاح سولفات ، کلراید ، نیترات و سایر املاح به همراه کلسیم و منیزیم است که پس از حرارت دادن به طور کامل از آب جدا نمیشوند بلکه با حرارت دادن آب ، میزان حل شدگی آن در آب کاهش میبابد ولی به طور کامل از بین نمیرود .
سختی کل
به مجموع سختی کربناتی و بی کربناتی ، سختی کل میگویند .
آبها از نظر درجه سختی به چهار دسته سبک با درجه سختی 0 تا 75 ، آب نسبتا سخت با درجه سختی 75 تا 150 ، آب سخت با درجه سختی 150 تا 300 و آب خیلی سخت با درجه سختی بیش از 300 تقسیم بندی میشود .
سختی آب چگونه به وجود میاید
زمانی که بخار آب درهوا تقطیر میشود گاز دی اکسید کربن را در خود حل میکند و اسید ضعیفی به نام اسید کربنیک را تشکیل میدهد . هنگامی که این اسید رقیق با قطرات باران به سطح زمین برخورد میکند از سطح خاکهای زمین عبور کرده و به بسترهای زیرین زمین که از سطوح آهکی ساخته شده برخورد میکند.
سنگ های آهکی از کربنات کلسیم و منیزینم تشکیل شده است . اسید رقیق باعث حل شدن منیزیم و کلسیم در خود شده و تشکیل آب سخت را میدهد . هر چه محل بارش و سطوح زیرین زمین درصد بیشتری از سنگهای آهکی را در خود جای دهد ، سختی آب در آن ناحیه بیشتر خواهد بود .
سختی آب چه مزایا و معایبی را به همراه دارد؟
وجود مقدار معینی از املاح مفید در آب مانند کلسیم و منیزیم ، نه تنها مفید ، بلکه ضروری است . آب فاقد سختی طعم مطبوعی ندارد و گوارا نیست . تحقیقات نشان داده مردمان مناطقی که در آن از آبهای با درجه سختی مناسب استفاده میشود کمتر به بیماری های قلب و عروقی مبتلا میشوند البته مصرف آبهای سخت خطر ابتلا به بیماری های کلیوی و سنگ کلیه را افزایش میدهد . حداکثر مقدار مطلوب سختی کل در آب آشامیدنی مطابق با استاندارد 1053 موسسه تحقیقات صنعتی ایران 150 میلی گرم در لیتر و حداکثر مقدار مجاز آن 500 میلی گرم در لیتر است .
یکی از عمده ترین مشکلات مربوط به استفاده آب در صنعت مساله سختی آب است که هزینه های زیادی را به بهره برداران وارد میکند سختی آب باعث تشکیل رسوب در تاسیسات میشود که مشکلات فراوانی را در سیستم های هیدرونیک به وجود میآورد .
سه عامل مهم در تبدیل سختی آب به رسوب نقش دارد .
- دمای آب : افزایش دمای آب موجب افزایش پدیده رسوب گذاری میشود این مساله به این جهت است که با افزیش دما درجه حلالیت املاح به خصوص کلسیم در آب کم شده و به تدریج جدا میشوند . به همین جهت در تاسیساتی که از آب گرم استفاده میشود پدیده رسوب گذاری بیشتر خواهد بود .
- فشار آب : هر چه فشار آب کاهش یابد ، موجب کاهش حلالیت مواد سخت درون آب شده و میزان رسوب گذاری بیشتر خواهد شد .
- قلیائیت آب : با کاهش میزان اسیدی بودن آب و افزایش قلیائیت آب ، حلالیت مواد محلول در آب کمتر شده و در نتیجه امکان رسوب گذاری بیشتر خواهد شد .
تشکیل رسوب در تاسیسات چه پیامدهایی را به دنبال دارد؟
برای پی بردن به اهمیت موضوع سختی گیری آب بهتر است ابتدا برخی از مشکلات به وجود آمده بر اثر سختی آب و تشکیل رسوب در تاسیسات و صنایع را بررسی نماییم .
1-رسوب رسانای حراتی خوبی نیست و تشکیل رسوب در جداره داخلی لوله ها و مبدل حرارتی باعث کاهش انتقال حرارت میشود . این مساله در مبدلهای آب گرم در موتورخانه ، کندانسور چیلرهای آبی ، آبگرمکن ها و ... به وضوح قابل مشاهده است . کاهش انتقال حرارت موجب افزایش مصرف انرژی و دور شدن سیستم از نقطه بهینه کارکرد میشود . مثلا تشکیل رسوب در یک کندانسور آبی چیلر باعث افزایش فشار تخلیه کمپرسور میشود که به دنبال آن افزایش برق مصرفی ، کاهش ضریب عملکرد سیستم ، بالا رفتن دمای آب چیلر و امکان آسیب به کمپرسور حادث میشود .
2-رسوب باعث کاهش کیفیت بخار تولیدی در دیگ های بخار میشود .
3-تشکیل رسوب باعث بروز خوردگی در مبدلهای های حرارتی ، دیگهای بخار و خطوط لوله میشود . این موضوع از طریق پدیده الکترولیز بین سطح رسوب و سطح فلزی بدنه حادث میشود .
4-در صنابعی مانند صنعت نساجی و رنگرزی و ... وجود رسوب باعث به وجود آمدن لکه بر روی سطوح میشود .
5-تشکیل رسوب در جدار داخلی لوله ها باعث تنگ تر شدن مسیر عبور سیال و در نتیجه کاهش فشار و افت فشار سیال میشود که در نتیجه باعث افزایش هزینه انرژی مصرفی و هزینه پمپاژ میشود . تشدید گرفتگی میتواند به مسدود شدن کامل لوله منجر گردد .
6-تشکیل رسوب در داخل مخازن و مبدلهای حرارتی باعث افزایش فشار وارده بر سطوح و از بین رفتن سریعتر آن میشود .
7-رسوبات موجود در سیستم باعث انسداد مسیرهای تنگ و گرفتگی در نازل ها میشوند . مانند گرفتگی نازلهای آب پخش کن برج خنک کننده یا نازل های آبیاری فضای سبز
8-تشکیل رسوب باعث اسیب به شیر آلات و کنترل ها میگردد . مثلا میتواند باعث از کار افتادن کلیدهای کنترل جریان سیال ( فلوسوئیچ ) میشود .
9-از بین بردن رسوب نیازمند استفاده از محلول های اسیدی و صرف هزینه برای این کار است و پس از رسوب زدایی نیز این مواد باعث آلودگی زیست محیطی میشوند .
10-شستشو با آب سخت مشکل بوده و مقدار بیشتری موارد شوینده را نیاز دارد . علاوه بر آن در صورت شستشو با آب سخت ، تشکیل لکه بر روی سطح پس از خشک شدن مشاهده میشود . این موضوع را میتوان در استفاده از ماشین ظرفشویی و لباسشویی در منازل مشاهده کرد . همچنین شستشوی لباس ها با آب سخت موجب زبر شدن سطح پارچه و تغییر رنگ و کاهش عمر مفید آن میشود .
11-بالا بودن سختی آب در آب شرب باعث کاهش گوارایی آب ، ایجاد سو هاضمه ، دیرپز شدن برخی مواد غذایی و تغییر طعم و مزه بری مواد غذایی نظیر چای و قهوه میشود .
12-شستشوی بدن با آب خیلی سخت موجب تشکیل یک لایه از نمک های محلول بر روی پوست و موی سر میشود که این مساله در برخی افراد ناراحتی پوستی ایجاد میکند و موجب خارش ، سوزش و انسداد روزنه های پوستی میشود .
پیشنهاد مطالعه : انواع رزین سختی گیر آب
سختی گیری آب
با توجه به موارد ذکر شده زدون سختی آب با روش مناسب از ضروریات یک سیستم آبی است . برای کاهش سختی آب از روشهای گوناگونی استفاده میشود که یکی از متداول ترین و در عین حال قدیمی ترین روشهای حذف سختی آب ، استفاده از سختی گیرهای رزینی است.
کاربرد سختی گیر رزینی
از سختی گیر رزینی در مقیاس فراوانی استفاده میشود . حذف سختی آب (به مقدار 250 میلی گرم در لیتر که این میزان مطابق با استاندارد WHO است) برای مصرف شرب ، حذف سختی آب از مدارهای سرمایش و گرمایش ، حذف سختی آب تغذیه دیگهای بخار و حذف و کاهش سختی آب مورد استفاده در صنایع مختلف مانند صنعت نساجی ، رنگرزی و ... از کاربردهای سختی گیر رزینی است.
دستگاه سختی گیر رزینی چیست؟
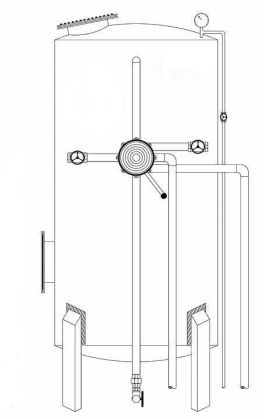
دستگاه سختی گیر رزینی از یک استوانه فلزی معمولا از جنس کربن استیل ساخته شده که داخل این استوانه معمولا به وسیله یک یا چند لایه رنگ اپوکسی پوشیده میشود . مواد موثر جهت سختی زدایی در ارتفاع و حجم مورد نیاز ، درون این استوانه ریخته میشود . این مواد رزین های تبادل یونی نام دارند . آب سخت ار روی این بستر رزینی عبور کرده و در حین عبور رزین تبادل یونی ، سدیم خود را با کلسیم و منیزیم موجود در آب تبادل میکند و آب عبوری در انتهای مسیر عبور از سختی گیر کلسیم و منیزیم خود را از دست داده و حاوی نمکهای سدیم شده و نرم میشود .
پس از مدتی کارکرد دستگاه تمامی سدیم موجود در رزین مصرف شده و دیگر رزینها توانایی تبادل یون ندارند در این حالت اصطلاحا رزین اشباع شده است . برای احیای مجدد رزین محلول کلرید سدیم (نمک طعام) را از روی بستر رزین عبور میدهند که سدیم موجود در محلول دوباره به رزین میپیوندد و رزین احیا میشود . محلول کلرید سدیم عبوری از روی بستر رزین بهتر است غلظتی در حدود 10 درصد داشته باشد و مقادیر کمتر یا بیشتر دارای اثر منفی هستند . بهتر است آب سخت عبوری از روی سختی گیر فاقد مواد معلق دیگر به خصوص مس ، آهن ، منگنز و سرب باشد زیرا این مواد باعث آسیب به رزین میشود .
رزین چیست؟
رزین ها ذرات جامدی هستند به رنگ زرد یا سفید که به طور طبیعی در طبیعت وجود داشته یا به شکل مصنوعی ساخته میشود و وظیفه آن تبادل یونی در دستگاه سختی گیر است. به طور معمول رزین ها ، کلسیم و منیزیم موجود در آب را جذب خود کرده و آن را با سدیم موجود در ترکیب خود جابه جا میکنند .

رزین های مورد استفاده در سختی گیر در دو نوع مصنوعی و طبیعی میباشد
رزین های طبیعی که به آنها زئولیت هم گفته میشود در سنگهای معدنی یافت میشود و میتوانند یونهای کلسیم و منیزیم را با یون سدیم خود جابه جا کند و از این رو به آنها یون سدیمی هم میگویند. رزینهای سدیمی دارای محدودیت هایی در سختی گیری هستند مثلا بی کربنات سدیم محلول در آب توسط این رزین ها حذف نمیشود و میتوانند در دیگهای بخار ایجاد مشکل نماید.
بی کربنات سدیم در مجاورت هوا به سود و گاز دی اکسید کربن تبدیل میشود که سود یکی از مواد موثر در خوردگی در تاسیسات بخار است . گاز دی اکسید کربن نیز در تقطیر بخار تبدیل به اسید کربنیک میشود که باعث خوردگی تاسیسات در مسیر برگشت میشود .
به همین جهت رزینهای جدید ساخته و به بازار عرضه شدند . یکی از این رزین ها ، رزین تعویض کننده کاتیونی هیدروژنی است که بجای سدیم هیدروژن فعال دارد . این رزین ها بی کربنات کلسیم و منیزیم را به اسید کربنیک تبدیل میکنند که اسید به وجود آمده نیز به دی اکسید کربن و آب تجزیه میشود . استفاده از این نوع رزین ها علاوه بر حذف سختی آب ، درجه قلیائیت آب را نیز کاهش میدهند .
آب خروجی از این رزین ها ، اسیدی است که برای از بین بردن اثر اسیدی محلول قلیائی به آن اضافه میکنند و یا با آب خروجی از یک سختی گیر رزینی سدیمی مخلوط میکنند . رزین های کاتیونی هیدروژنی نیز محدودیت هایی دارند و قادر به حذف موادی مانند سولفات کلراید و سیلیکات نیستند .گاهی اوقات استفاده همزمان از هر دو رزین موجب حذف سختی آب تا حد قابل قبولی میشود .
پیشنهاد مطالعه : تفاوت سختی گیر و فیلتر شنی
اجزا یک دستگاه سختی گیر
- مخزن استوانه ای شکل دستگاه ساخته شده از ورق کربن استیل با پوشش رنگ اپوکسی از داخل و پوششی از رنگ ضد زنگ از بیرون که بهتر است دارای یک دریچه بازدید و ترجیحا آدم رو باشد .
- سیستم پخش و جمع آوری آب در بالا و پایین دستگاه به همراه نازل های مرتبط
- مخزن نمک در کنار دستگاه اصلی از جنس پلی اتیلن یا فلزی
- شیر کنترلی چند راهه که میتواند دستی ، اتوماتیک یا نیمه اتوماتیک باشد .
- رزین داخل دستگاه
- لوله کشی برای ورود و خروج آب به دستگاه و ورود محلول آب نمک و شستشوی معکوس
- شیر تخلیه هوا در بالای دستگاه و فشار سنج

احیا کردن رزین
همانطور که گفته شد برای احیا کردن رزین سدیمی و هیدروژنی آب نمک با غلظت 10 درصد را از روی آن عبور میدهند . برای تهیه آب نمک بهتر است از آب تصفیه و سختی گیری شده استفاده شود و استفاده از آب سخت برای این کار موجب کاهش کیفیت عمل احیا سازی و کاهش طول عمر مفید رزین میشود . همچنین استفاده از نمک با خلوص بالای 99 برای اینکار درصد پیشنهاد میشود .
احیا مناسب رزین شامل چهار مرحله به شرح ذیل میباشد .
- در مرحله اول آب را با فشار در خلاف جهت حرکت اصلی آب سخت در دستگاه به جریان میاندازند . این کار باعث میشود اولا برخی از مواد معلق و ناخالصی های درون رزین جدا شود و ثانیا از فشردگی و چسبیدگی دانه های رزین به یکدیگر کاسته شود . این کار شستشوی معکوس (Back Wash) نامیده میشود .
- پس از شستشوی معکوس ، آب نمک یا هر ماده رقیق کننده دیگر را به آرامی از روی بستر رزین عبور میدهند تا عمل احیا سازی رزین صورت پذیرد .
- پس از عبور دادن محلول آب نمک از روی بستر رزین ، برای حذف اضافه آب نمک ، آب تمیز را از روی بستر رزینی عبور میدهند . آب خروجی مورد استفاده در این مرحله حاوی اضافات محلول آب نمک است و برای صرفه جویی میتوان آن را جمع آوری کرد و برای ساختن محلول آب نمک در مراحل بعدی شستشو استفاده نمود .
- پس از انجام این سه مرحله ، دستگاه در حالت آماده به کار خواهد بود و میتواند آب را سختی گیری نماید .
انجام مراحل فوق سختی گیر به وسیله ی یک شیر چند راهه و به صورت دستی صورت میپذیرد .
محاسبه و انتخاب سختی گیر رزینی مناسب
برای محاسبه و انتخاب یک سختی گیر رزینی مناسب توجه به پارامترهای زیر ضروری است .
- دبی آب ورودی به سختی گیر
- سختی آب ورودی به سختی گیر و سختی مورد انتظار
- نوع و ظرفیت رزین
- فاصله بین هر احیا در دستگاه (سیکل احیا و شستشو)
به طور کلی برای به دست آوردن سختی آب خروجی از دستگاه ، ظرفیت دستگاه و مقدار نمک مصرفی برای احیا میتوان از فرمولهای زیر استفاده نمود .
مقدار سختی کل آب در فاصله بین دو احیا :

ظرفیت و حجم دستگاه سختی گیر:

مقدار نمک مصرفی برای احیا :

در این فرمول ها :
M : مقدار سختی آب بر حسب گرین در فاصله بین دو احیا
V : حجم رزین به فوت مکعب
: THسختی کل آب ورودی به PPM
V: دبی آب سخت ورودی به دستگاه بر حسب گالن بر دقیقه
T : زمان بین دو احیا بر حسب دقیقه(min)
R : ظرفیت رزین بر حسب گرین بر فوت مکعب
m : مقدار نمک برای احیا بر حسب پوندمیباشد .
برخی از تولید کنندگان با فرض اعدادی نسبتا واقعی فرمولهای ساده ای برای محاسبه ظرفیت دستگاه ارائه داده اند. در فرمول زیر که توسط یکی از تولید کنندگان سختی گیر ارائه شده است مقدار سختی آب ورودی 250 و سیکل کاری 8 ساعت در نظر گرفته شده است و به این ترتیب :
مقدار کمینه سختی خروجی و حجم رزین مورد نیاز از دستگاه از فرمول زیر محاسبه میشود .

GRain/min: مقدار مینیمم سختی آب
V/Rezin: حجم رزین مورد نیاز
T : زمان سیکل شستشو بر حسب ساعت
PPM : میزان سختی آب
GPM : دبی آب سخت ورودی به دستگاه بر حسب گالن بر دقیقه میباشد .
پس از محاسبه حجم رزین مورد نیاز و مقدار مینیمم سختی آب با مراجعه به جداول تولید کنندگان حجم مناسب دستگاه به دست میآید.
نتیجه :
استفاده از سختی گیر های رزینی میتواند سختی آب را تا حد قابل قبولی کاهش و آب را برای مصارف صنعتی مهیا سازد . با صرف هزینه ایی اندک برای خرید و نصب یک سختی گیر رزینی میتوان از بروز خسارات ناشی از رسوب سختی آب به تاسیسات جلوگیری نمود. بعد از انتخاب یک سختی گیر رزینی مناسب برای سیستم ، نکته مهم در استفاده از آنها انجام عملیات احیا سازی رزین در زمان مناسب است .
اگر سختی گیر رزینی در زمان مقرر شستشو و احیا نشود عملا فاقد کارایی خواهد بود . برای پی بردن به زمان مناسب احیا سازی ، میتوان آب خروجی از دستگاه را در بازه های زمانی مناسب آزمایش نمود و سختی آن را سنجید . این کار به وسیله کیتهای تشخیص سختی قابل انجام است .
با تشکر از اعتماد شما،فروشگاه اینترنتی بامین تهویه با ارائه ی تصاویر،اطلاعات فنی و مشخصات انواع سختی گیر امکان مقایسه و خریدی مطمئن در اختیار مشتریان محترم قرار داده است. مشاورین بامین تهویه آماده ی پاسخ گویی به سوالات فنی شما می باشند.
بامین تهویه تخصصی ترین وب سایت کشور در زمینه تأسیسات





دیدگاهی یافت نشد!